查看完整案例


收藏

下载
▼立面图,elevations
▼视线分析图,sight diagram
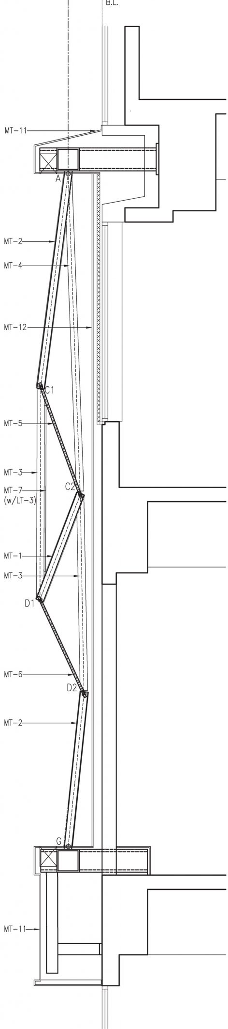
▼杆件定位图,location drawing
▼三维及大样图,3d view and detail drawing
客户:周生生珠宝金行有限公司
项目地址:香港九龙尖沙咀广东道30号新港中心地铺G38F
完成年份:2015
景观面积:招牌面积约117平方米
Location: Canton Road, Hong Kong
Client: Chow Sang Sang Jewellery Co., Ltd.
PLY Union Design Team: Lucia Cheung, Raymond Chan, Match Chan, Samantha Tam, Fondie Choi, Alex Yu
Year of Completion: 2015
Signboard Surface Area 117m2
客服
消息
收藏
下载
最近

















