查看完整案例


收藏

下载

翻译
Architect:Arquitectonica;Hugh Dutton Associes
Location:Miami, United States; | ;
Category:Offices;Shops
Duringthe 1920sthe boomtown of Miami was nicknamed the “Magic City”as its skyline became rapidly transformed with ever more high-rise buildings. This growth has continued unabated to this day: the city is currently developing downtown Brickell, Miami’s financial and commercial centre. The district’s new centrepiece is the Brickell City Center, which combinesa shoppingmall, offices,a hotel and luxurious apartments in a sophisticated atmosphere.
The project extends across an L-shapedplot covering 37,000 m2andconsists of various five-storey buildings. Rising above these are two residential towersandahoteltowerwithup to forty storeysoffering impressive views reaching as far as the Atlantic.The main attraction is thelively light-floodedshoppingmall where a range ofshops, restaurants andcaféscovering five storeys are linedalong aroofed atrium. Walkwaysandstairstraverseandconnect the various levels, creating spaces in which people can spend time and watch the lively goings-on around them.Ample daylight enters through the movingglazedatrium roof,creating a friendly and bright atmosphere.White ribbons appear to float below the glass skin. These protect the interior against the tropical sun while ensuring that air can circulate within the atrium. Because they follow the course of the roof, they appear like sails on the horizon – particularly at the end of the mall that opens out towards the Miami River.
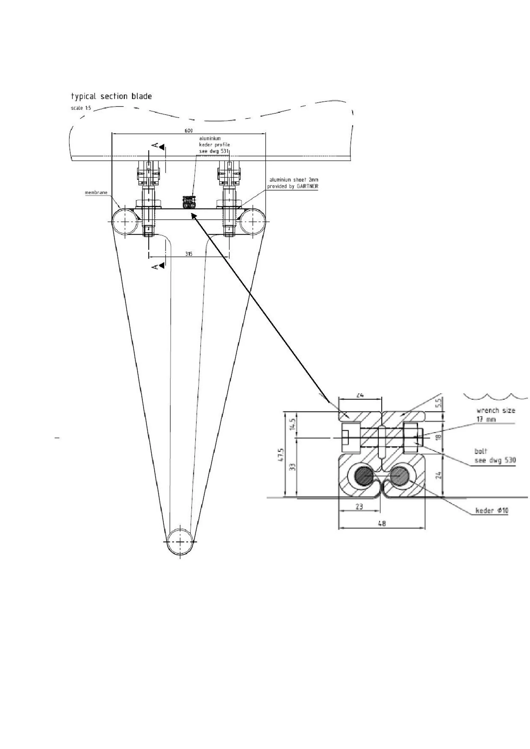
What appearsto have beenachieved with playful ease is actually the result of highly complexmembrane detailing andextremely precise fabrication and assembly. The shape of the roof alone has its difficulties with its T-shapedlayout. The steel and glass structure consists of triangular panelsjoined in such a way as to create an undulatingup-and-down effect. Running below this are the bright membrane ribbons that are attached to the steel structure. Together with the roof, these form the so-called Climate Ribbon™.Theplay of forms of the Climate Ribbon™was created in the office of architect Hugh Dutton. Using afree-form programandby calculating shade andair circulation,he was able to design the shape of the roof andthe individual ribbons, known as blades. Thesefollow the undulating movement of the roof.At the same time they revolve around their own central axis,while also followinga 90°bend in the area of the T-junction.
Thecompany Josef Gartner from Würzburg wascommissioned to construct the Climate Ribbon™andcalled on the services ofthe experts from formTL to engineer the membrane ribbons. These expertsprepared the membrane analysiscreated the documents to fabricate and install the membranes, the bladesanddelta beams.Along with the special shaping, the climatic conditions also posed particular challenges for the construction: the hurricane season in Miami lasts from Juneto November,bringing with itheavy rainfall. Tropical cyclones are also not uncommon outside this period. In addition, there is an high wind load from the Altantic Ocean.
The blades have a triangular cross-section andare each formed from three cylindrical steel tubes, the top two of which always run in parallel. Thecurvatures of the blades come about through the third tube,which is fixed in place by steel spacers and swings around the central axis. Because the clamping of the membranes was to be made invisible to the observer, formTL developed a detail to have them attached via an aluminium strip to theupperside of the blades. In addition, metal bracketswere attached to the upper side of the bladesto fix them to themain girders of the roof structure.
In order to resist against storms,the membranes chosen forthe blades weremade from type 18039PTFEglass. This material is extremelyrobust, but is also stiffandbarely extendable, thereby limiting the possibilities of adjusting any inaccuracies on site.The membrane panelshad to be made with a high degree of precision to ensure that the cut sections fit exactly onto the steel. Especially in the area of the 90° bends at the so-called L-blades,this meant that the engineers had to developnumerous individual narrow segments. In total, 313 individual blades were created in this way witha total area of 11,092 m2. Most of the substructure wascovered in awarehouse near the construction site with theexception of the L-blades, which had to be covered directly on site as they could not be transported subsequently.
A somewhat less complex process was that of encasing thetri-chord trusseswhich form the end of the roof. These run straight andthe individual membrane pieces could increase significantly in size. This also meant that the fitters had more opportunities for adjustment with regard to the covering process, which could only be carried out after the glass roof had been installed.The result is well worth the amount ofengineering involved – the Brickell City Center now welcomes visitors withitsbright atmosphere andpleasant climate.
▼项目更多图片
客服
消息
收藏
下载
最近





















