查看完整案例

收藏

下载
凡尔赛国立建筑学院,背靠国王马厩,面对凡尔赛宫,每年入学超过1200名学生。随着教学方法的变化和原有设施的老化,学校决定对部分区域进行全面翻修,特别是工作坊。由于场地部分区域被列为文化遗产,这项工作需要快速推进,因此设计过程采取了简洁而有效的综合性方案。
Facing the Château de Versailles, in the former King’s Stables, the National School of Architecture of Versailles welcomes more than 1200 students each year. Due to changes in teaching methods and the deteriorating condition of the premises, the administration decided to carry out a complete renovation of part of the school: its workshops. The site, partially occupied and heritage-listed, required a fast intervention, which led the design process towards a synthetic approach.
▼项目概览,overall of the project © Séverin Malaud / minuit
建筑师重新组织了所有基础设施,包括固定与可移动的照明和家具元素灯。同时,历史建筑外立面也进行了简洁而精准的翻修。翻修区域总面积为1500平方米,包含三个具有独特几何形态的大型工作坊。设计充分利用每个空间的特点,提供多种工作与学习环境,如:小组合作、独立工作、计算机房、模型制作等,并鼓励学生之间的互动。其中,两个空间更适合独立工作或模型制作,而第三个工作坊布局简洁,借助可移动的桌子和悬挂设施,可以灵活变化,适应各种需求,如展览、演示等。
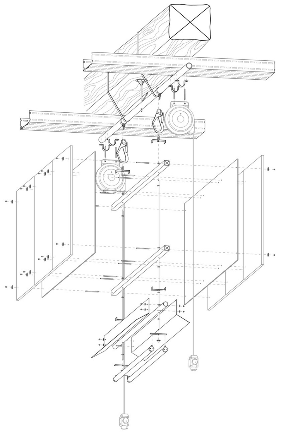
▼分析图,analysis diagram © minuit architectes
To address the various challenges, the project reorganized all the networks, incorporating lighting and furniture, both fixed and mobile. This was accompanied by a clean and simple renovation of the historic shell. The project covers a surface of 1500 m², composed of three large workshops with distinct geometries. The renovation takes advantage of each space’s specific features to offer a variety of work and learning environments (group work, individual work, computer use, model making, etc.), while also encouraging interaction between students. Two of the spaces, due to their unique configuration, are more suited for solitary work or model making, while the third workshop, with its simple layout, allows for a variety of configurations thanks to its mobile tables and suspended networks (exhibitions, presentations, etc.).
▼工坊内部,interior view © Séverin Malaud / minuit
▼家具与结构的结合,integration of the furniture and the structure © Séverin Malaud / minuit
▼极简工业风格,minimal industrial style © Séverin Malaud / minuit
▼沿立面的工作空间,working space along the facade © Séverin Malaud / minuit
▼家具细部,details of the table © Séverin Malaud / minuit
▼夹层下空间,space under the mezzanine © Séverin Malaud / minuit
▼夹层,the mezzanine © Séverin Malaud / minuit
▼修复后的窗扇,the window after renovation © Séverin Malaud / minuit
▼二层工作坊,the upper floor © Séverin Malaud / minuit
所有家具都为定制设计,采用机械化组装,使用标准化元素,尽量减少改动。组装连接构件经过精心设计,以便在课程汇报期间有效释放和清理空间。原材料如镀锌钢和回收塑料与场地历史相呼应,修复对象包含了超过300年历史的石材和灰泥立面,成功实现了历史建筑与现代设计之间的对话。
The furniture, custom-designed, is assembled mechanically from standardized elements, modified as little as possible. The attachment systems to the existing structures were designed to efficiently free up and clear the spaces, which are often cluttered during project submissions. Raw materials, such as galvanized steel and recycled plastic, are used to resonate with the history of the site. The restoration of the stones and plaster, over 300 years old, creates a dialogue between the historical architecture and the new in the Renovation of the workshops at the National School of Architecture of Versailles.
▼设备细部,details of the equipment © Séverin Malaud / minuit
▼家具细部,details of the furniture © Séverin Malaud / minuit
▼悬挂系统细部,suspension system details © Séverin Malaud / minuit
▼灯具细部,details of the lighting features © Séverin Malaud / minuit
▼可回收塑料台面细部,details of the recycle plastic table top © Séverin Malaud / minuit
▼外立面,facade © Séverin Malaud / minuit
▼细部详图,detailed drawing © minuit architectes
Delivered in 2024
1500 sqm
Photo credits: Séverin Malaud / minuit
客服
消息
收藏
下载
最近































