查看完整案例

收藏

下载
日前,江苏省安装行业专家交流会
在苏州成功举办
安装分公司成果
《智能科研办公场所装配式钢结构关键技术研究》
荣获科技创新奖二等奖
技术创新能力再获行业认可
该成果依托麒麟人工智能产业园D区项目,针对智能科研办公类建筑的特点,通过调研、理论分析、现场实践和BIM建模方式,系统研究装配式钢结构在防火、墙柱体系、大跨度楼承板等方面的关键技术,形成了三项核心创新。
Part.1
研发箱型钢柱非膨胀型防火涂料+硅酸钙板组合防火构造施工技术。
利用有限元分析软件,按照硅酸钙板龙骨的安装步骤对龙骨的变形及应力变化进行施工模拟,通过优化龙骨分布、节点连接方式及截面规格,降低龙骨施工难度。优化防火涂料及硅酸钙板龙骨施工顺序,防火涂料喷涂前采用方钢支撑与钢柱焊接,减少后续对防火涂料的破坏,提升防火性能与建筑美观性,同时大幅节约材料与工期。
Part.2
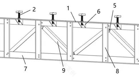
装配式钢结构新型墙柱体系施工技术。
创新性采用防火涂料隔断装置,通过轨道与支撑耳板灵活滑动,可实现钢柱周向任意位置的精准遮挡,满足不同位置墙板的多样化安装需求。研制一种用于高层ALC板安装的吊装装置及其使用方法,替代传统ALC墙板安装方法,在吊装装置上设置限位装置及滑动装置,满足不同规格ALC墙板的吊装要求,有效解决交叉作业污染与高大墙板安装难题,提高施工效率与安全性。
Part.3
大跨度钢桁架+钢筋桁架楼承板施工技术。
运用MIDAS软件进行在大跨度钢桁架施工中施工模拟与工况分析,确保安装过程中钢结构主体竖向变形和组合应力符合钢结构设计规范要求。研发装配式新型钢筋桁架楼承板临时支撑系统,实现大跨度楼承板安全、高效施工,质量控制水平显著提升,整体循环周转利用率高,安全性较好。
该技术已在公司承建的麒麟人工智能产业园D区项目中得到成功应用,实现技术与经济的双优目标。项目还荣获第十六届“中国钢结构金奖”,获得业主、监理与社会各界的高度评价。
该成果经鉴定达到国内领先水平,共形成装配式钢结构专业工程关键技术研究报告1项,并提炼形成省级工法1项,相关技术已受理发明专利2篇,授权发明专利1篇,授权实用新型专利3篇,发表论文2篇。该成果不仅适用于智能科研办公建筑,还可推广至学校、医院、住宅等多种装配式钢结构项目,为推动智能建造与绿色施工提供了可靠的技术支撑,具有广阔的应用前景。
项目简介
麒麟人工智能产业园D区项目位于南京市江宁区麒麟科创园,占地5.6万平米,总建筑面积14.96万平米,地上建筑面积11.27万平米。项目重点围绕人工智能核心芯片、系统集成智能终端、智能机器人等产业基础,建设南京人工智能产业研发基地,打造人工智能技术、人才企业、研究院所集聚的研发核心区。
科技引领,匠心建造
公司将继续深化钢结构技术研发
打造更多精品工程
推动建筑工业化、绿色化发展
为行业进步贡献钢结构智慧
责编:管忠奎、黄钱兵
校对
:王楚辞、崔文杰
审核:樊军、唐世威、杨涛
编辑、
发布:中建八局三公司融媒体中心
客服
消息
收藏
下载
最近




















