查看完整案例


收藏

下载
点击蓝字·关注我们
毫无疑问,小重楼是一个情怀项目。建筑师对于山城步道的情节,在业主方友谊和信任的催化下发酵出了一系列“非理性”操作,现场状况总是出乎意料,没见过的技术难点摆在眼前仿佛是诱惑你去解决,搞定问题的过程与成就感持续令人痴迷其中。
Part 1. 空间改造
建筑体量与空间
3 栋楼+5 层楼=8D?
项目选址是一栋近似吊脚楼的传统建筑,本身由 3 栋楼的不同部分共计 5 个不同的标高组成,3 个主体建筑之间相邻但不相通,整体呈现一个非常奇妙的状态。通过新增 3 层的玻璃盒子,起到串联 A,B 栋的作用,通过新增 5 层的玻璃盒子,使得 C 栋的屋顶也是项目的制高点获得了实用功能。
功能与动线
上下左右里里外外
一层通二层楼梯 | 从"爬"到"走"的进化
原有的木构楼梯踏步面极窄,坡度很大,成年人上下基本上都需要手足并用,非常不方便。为了让人们可以正常行走,拆除原有木构楼梯,加大楼板开洞,拉长了楼梯的水平距离,对楼板结构进行改造加固,利用楼梯下方的空间形成操作台,在保证结构安全的同时,既满足交通动线的舒适性,又合理利用空间以满足功能需求。
▲Before
▲After
二层通三层楼梯 | 在空中做到脚踏实地
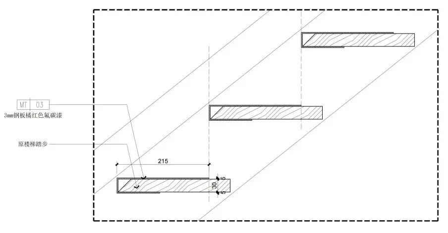
原有的户外木结构楼梯踏步面窄,且尽端有 45 度切角,成年人的脚踩上去处于半悬空状态,既不舒适也不安全。在楼梯水平距离无法改变的情况下,采用直接加宽踏步面的做法,增加钢板折弯构建,将尽端的 45 度切角做平,使人们每一步都可以踩实,极大地提高了舒适度与安全性。
三层通四层楼梯 | 从隔壁的窗到自家的门
原有的三层屋面平台与四层之间没有交通动线连接,将四层的窗户改造为门,在躲开吧台的位置增加楼梯,起到连接两栋楼两层楼的作用。
四层通五层楼梯 | 1 个动线满足 3 个功能
原有的四层与屋顶平台之间没有交通连接,屋顶资源彻底浪费。在满足踏步高宽比的同时,最大化利用空间做一个折跑楼梯连接屋顶。同时利用楼梯下方的空间做卫生间,折跑楼梯中间的空间做储藏间,并将储藏间的顶面设计成观景座位。
▲观景座位
新旧组合
外立面老木门再利用
建筑原有的木门是重要的历史记忆,但放在吧台所在的最为开敞的三层空间朝江面,对于视线的遮挡较为严重。在既要最大化江景的观感又要保留历史记忆的双重诉求下,我们选择将所有的木门移动到五楼的阳光房作为立面元素,以木门的尺度来反推阳光房的尺度,新旧结合。
为空调设计的房间
既保留尺度还不撞头
屋顶的阳光房高度尊重紧邻的原有坡屋顶,利用空间的同时尊重旧的建筑尺度,然后导致了空调安装后净高不足的情况,为此单独给空调设计一个房间突出屋面,既满足功能又保证了建筑尺度的延续。
为服务设计的传菜梯
减少服务员每天的步数
二层到三层的楼梯为室外楼梯,满足顾客上下尚可,但作为菜品运输的动线则极为不便。为此,相较于在室内单独增加一个楼梯占据更大的面积,我们选择单独在二三层之间增加一个传菜梯,起到同样的作用但是占用更小的使用空间。
为小便池设计的房间
营造特殊的仪式感
极小的卫生间,理论上并不具备增设小便池的条件,但基于对卫生的强烈诉求,结合对隔壁储藏室的精确研究计算,得出在墙上嵌入一个小便池的可行性,既满足功能,又增加了特殊的体验感。
Part2. 结构改造
安全第一
每层楼都有不同的结构形式
二层楼板 — 钢木结构置换木结构
为了增加楼梯的水平距离,结合现场的平面尺寸,楼板开洞不可避免。开洞以后原有的木梁单侧被打断无法承重,通过新增工字钢立柱和两根钢梁托起被打断的木梁,起到荷载传递的作用。
外墙悬挑楼梯—走在空中的安全感
原有的室外木楼梯仅仅依靠两个斜撑承重,现如今作为一个餐酒吧的主要通道,人流量与荷载需求都大大增加,增加 X 个斜撑之后,楼梯的稳定性大大增加,原有的晃动感基本上感觉不到了。
▲加固后
四层楼板与楼梯 — 消除对楼下邻居的影响
拆除原有木板,改为混凝土现浇楼板,利用现浇板与原有的框架梁搭建楼梯。从空间、结构、声音等各个方面消除对楼下邻居的影响。
二层楼梯扶手—在木梁与空气上固定玻璃。
这是一个三个边有三种不同构造的玻璃栏杆节点,木梁上方无法直接固定玻璃夹,需要增加钢结构。现场条件直接做钢结构无法保证栏杆底部处在同一标高,或者会和楼梯上的扶手冲突。
经过现场激烈的讨论磋商,最终商讨出解决方案。最左边的钢梁生根在框架梁与下方工字钢上面,最右边的钢梁在拆除木梁之后顶替到了原木梁的位置,在这两根钢梁之上焊接玻璃夹,同时中间位置的玻璃夹两端直接搭在两个钢梁上,形成一个连续且标高统一的转角玻璃栏杆。
Part3. 排水防水
三楼|玻璃盒子
来自两个坡屋顶的雨水
在三楼平台处的阳光房,承载了三楼到四楼的交通作用,紧邻 B 栋方向的高度必须满足门的高度,同时,玻璃顶面临了来自两个不同方向的坡屋顶以及两个不同方向的雨水,在既要解决空高问题,又要解决排水问题的情况下。
将玻璃盒子靠 A 栋位置体量降低,外侧以低点为标准做排水沟,利用玻璃盒子的两个不同标高顶面将来自两个方向的雨水全部汇集到雨水沟统一排放,避免了屋顶的积水、渗水、漏水以及侧墙长期被雨水冲刷容易产生的污渍。
五楼|玻璃盒子
解决老木门做新立面的后遗症
五楼新增的玻璃盒子,由于采用了原有的木门,导致木门和新砌花池之间的缝隙无法密闭,雨水顺着缝隙会流到木门底部,由于木门本身不具备密闭性,雨水会进入室内,亦或是在缝隙处积水产生异味。
在木门上玻璃的位置下方新增不锈钢,整体扣在花池内壁位置,使得所有雨水全部顺着不锈钢排入花池内部,从木门以外的位置彻底隔绝雨水,有效避免了木门浸水,缝隙积水异味,雨水渗透进室内的问题。
Part 4. 管线遮蔽
消失的明线
拒绝桥架的专项设计
由于老建筑业主不允许破坏墙体开槽走线,所有的线都需要走在墙体以外的位置。作为一个五层楼的项目,电线数量规模导致桥架的出现几乎难以避免,而从效果上来说桥架又恰恰是不可接受的存在。
于是我们通过各种物体对电线进行遮挡,代替了桥架的作用。一层到二层,把柱子做大即可。二层的横向转移,设计一个靠墙的画框在木梁上方,将电线隐藏到画框内部。二层到三层,通过传菜梯的不锈钢空腔。三层的横向转移,通过玻璃盒子底部的青砖条下方,再结合新增的白色装饰墙直接走入三层电箱。从电箱直接钻孔穿过砖墙,从楼梯下方进入储藏间。全过程没有开槽但完全看不见用于走线的桥架。
END
250 平米对于当下如火如荼的城市更新大潮来说只是沧海一粟,与其他更新类项目相比略有特殊与不同,我们尝试扎到一个极小的点,站在城市的尺度向内部的微观世界探索城市更新的本质并思考:建筑师如何做好一件小事。
感谢阅读,我们是未韬建筑设计事务所
文章撰写 |WT Architects
项目名称|山城巷.小重楼餐酒吧
项目位置|重庆市渝中区中兴路山城巷历史文化风貌区
建筑面积|250㎡
方案设计|未韬建筑设计事务所
方案主创|李未韬 李博
项目建筑师|邓林
设计团队|丁明新 张智睿 陈秋岑 吴静琪
灯光设计|田佳伟
灯光供应|奈汀光学 朱继周
V I 设计|Summer 李梦颖
施工团队|重庆久润装饰工程有限公司
阅读 · 更多
点击查看>
WT ARCHI&小重楼餐酒吧|山城步道上一座奇葩民居楼的改造之路
点击查看>
WT STORY 工地日志 001 | 我与工地的不解之缘
点击查看>
WT STORY 工地日志 002 | 要快乐呀,工地人!!
客服
消息
收藏
下载
最近






























































